1. Van Điều Khiển Tuyến Tính Là Gì?

Van điều khiển tuyến tính( tiếng anh là : Linear Valve ) là một thiết bị dùng để điều chỉnh dòng chảy của chất lỏng hoặc khí trong đường ống. Khác với van bật/tắt thông thường (chỉ có mở hoặc đóng), loại van này cho phép điều chỉnh mở ít, mở nhiều – theo từng mức độ, giống như bạn vặn vòi nước chậm hay mạnh tùy ý.
Từ “tuyến tính” nghĩa là chuyển động theo đường thẳng – nên phần điều khiển sẽ đẩy lên/xuống hoặc ra/vào để mở van từ từ, rất chính xác.
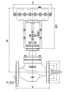
2. Van Tuyến Tính Gồm Những Gì?

Một van điều khiển tuyến tính thường bao gồm:
-
Thân van: Phần chính nơi dòng nước hoặc khí đi qua.
-
Bộ truyền động (Actuator): Nhận tín hiệu điều khiển và tạo ra chuyển động để đóng/mở van.
-
Bộ định vị (Positioner): Giúp điều khiển chính xác mức độ mở của van (ví dụ mở 20%, 50%, 80%…).
-
Phần đóng/mở (đĩa van hoặc cửa van): Cơ cấu chặn hoặc mở đường dòng chảy.
3. Van Điều Khiển Tuyến Tính Hoạt Động Thế Nào?
Van sẽ nhận tín hiệu từ hệ thống điều khiển trung tâm (thường là tín hiệu điện 4–20mA, 0–10V hoặc khí nén). Tín hiệu này sẽ được bộ truyền động hiểu và điều chỉnh van mở nhiều hay ít, giúp lưu lượng dòng chảy tăng hoặc giảm mượt mà, rất phù hợp cho các hệ thống cần điều chỉnh chính xác.
Ví dụ: Khi cần tăng nhiệt độ trong một bồn chứa, hệ thống sẽ điều khiển van mở thêm một chút để cho hơi nóng đi vào nhiều hơn – và ngược lại.
4. Ưu Điểm
-
✔️ Điều chỉnh chính xác: Bạn có thể mở van ở mức 10%, 30%, 70%… tùy theo nhu cầu.
-
✔️ Tiết kiệm năng lượng: Không gây mở/đóng đột ngột, tránh sốc áp hoặc hao mòn thiết bị.
-
✔️ Hoạt động ổn định: Phù hợp với hệ thống tự động hóa cao.
-
✔️ Dùng được nhiều môi trường: Nước, khí, hơi nóng, hóa chất, nước thải…
5. ỨNG DỤNG
Van tuyến tính được ứng dụng rất rộng rãi, ví dụ:
-
🏭 Nhà máy sản xuất thực phẩm: điều chỉnh nguyên liệu, khí nén.
-
🧪 Ngành dược/hóa chất: cần chính xác tuyệt đối về lưu lượng.
-
🏢 Hệ thống điều hòa HVAC: điều khiển nước nóng/lạnh qua ống.
-
⚡ Nhà máy điện, xử lý nước thải, dầu khí…
Van điều khiển tuyến tính là thiết bị không thể thiếu trong các hệ thống cần kiểm soát dòng chảy một cách linh hoạt và chính xác. Nhờ khả năng điều chỉnh tuyến tính, van giúp hệ thống hoạt động hiệu quả hơn, tiết kiệm chi phí vận hành và tăng độ bền cho toàn bộ thiết bị.
Nếu bạn đang tìm kiếm một địa chỉ mua VAN TUYẾN TÍNH chính hãng , đồng bộ, chất lượng cao tại Việt Nam, Nguyễn Liêu là lựa chọn không thể bỏ qua.
Chúng tôi luôn sẵn sàng tư vấn và hỗ trợ bạn lựa chọn sản phẩm phù hợp nhất với hệ thống của mình. Cảm ơn quý khách đã tin tưởng và lựa chọn Nguyễn Liêu!
Hãy liên hệ với chúng tôi qua:
Trụ sở: 11 Đường số 9, Khu Biệt Thự Him Lam Kênh Tẻ, Phường Tân Hưng, Quận 7, TP. Hồ Chí Minh
Sđt/Zalo: 091.514.0011 – 0913.635.530
Email: nguyenlieu@vancongnghiep.vn
